齿轮的齿端加工
发表时间:2020-05-08 网址:https://www.utransm.com/ 编辑:一同传动
齿轮的齿端加工说明如下,供参考了解,如有不足欢迎补充。
齿轮的齿端加工有倒圆、倒尖、倒棱和去毛刺等方式,下图所示。

a、倒圆、倒尖后的齿轮在换档时容易进人啮合状态,减少撞击现象。
b、倒棱可除去齿端尖边和毛刺。
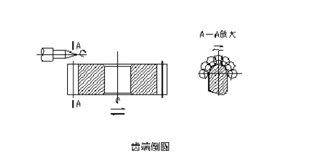
下图是用指状铣刀对齿端进行倒圆的加工示意图。

倒圆时,铣刀高速旋转,并沿圆弧作摆动,加工完一个齿后,工件退离铣刀,经分度再快速向铣刀靠近加工下一个齿的齿端。
齿端加工必须在齿轮淬火之前进行,通常都在滚(插)齿之后,剃齿之前安排齿端加工。如有不清楚的地方或相关齿轮加工需求,可向一同厂家免费咨询。
<上一篇:齿轮滚齿、插齿、拉齿、铣齿、珩齿、剃齿、磨齿加工的应用
>下一篇:直齿圆柱齿轮加工
CN
EN
广东一同传动有限公司 



























